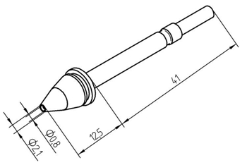
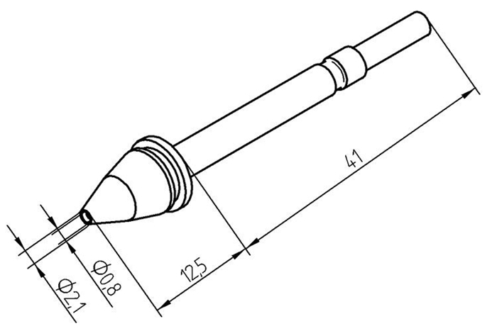
ERSA-722ED0821-1 Hakkında

ERSA 722ED0821
* Ürün görseli tanıtım amaçlı verilmektedir. Birebir ürünle farklılık gösterebilir.
Araçlar
  • Ürün Fiyatı
  • Ürün Özellikleri